阿里云盾天天安全提醒需要如何处理及防范
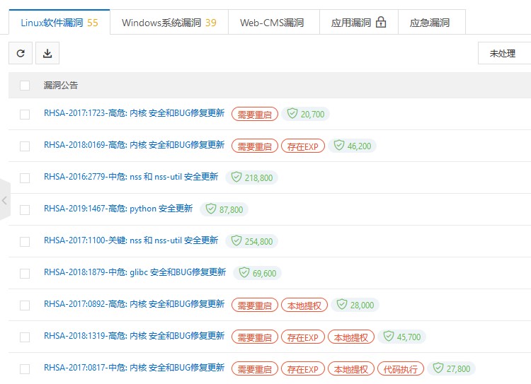
今天接到淘宝客户的联系,服务器2年没维护,安全狗无法更新,阿里云盾天天安全提醒比较烦神,委托我们对服务器进行安全更新和加固设置,我们知道阿里云盾是收费的,免费的有基础的提醒功能,如果使用防护功能需要购买,免费基础版没有防护功能,且价格比较贵,一般企业无法接受。登录客户的阿里云账户,看到如下信息,显然服务器存在漏洞补丁更新,存在网站被入侵的风险。

遇到上面网站里有木马的提示可以明确网站已经被入侵或者篡改,首要工作是对所在服务器的整个网站程序进行后门查杀,完毕后对服务器做加固处理,对程序多防护处理,最后在上图的紧急前面勾选,选择已经处理。

出现如上图所示的,则需要对服务器做漏洞修复,linux系统一般使用yum -y update,windows则使用系统更新功能,注意更新前记得快照当前系统免得更新后系统无法使用。








